
联系人:徐经理
电话:139 6412 8213
地址:济南市长清区大学科技园
网址:www.juaicaiplus.com
1.锁体位置打孔(图10)
铅门锁体位置打孔时,要留意体方轴中心位置到锁芯中心位置的距离。这段距离目前以92mm的居多,其余两孔为两边执手面板的固定螺丝位置,可稍微放松,最好是用标准模板一次打好。

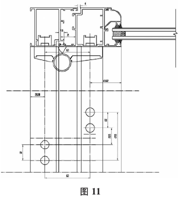
2.合页安装(图11)
草莓成人在线观看合页的安装中,欧标槽合页的安装不需要打孔,给门窗厂很大方便。非欧标槽合页一般都要打孔。图II为大鸡合页的打孔示意图。目前国内大部分合页使用的框扇之间的中心距离在60-65mm之间;还有部分料使用搭接料,需要的中心距离在80-90mm之间;要根据情况不同选择好合页。

同时,由于很多超大超宽门都需要安装第三个合页。这里建议第三个合页安装在离下合页3/4高度的位置处(请参看本人的另一篇文章《第三个合页应装在哪个位置?一平开门窗中的三个合页的安装位置分析》,这里不再赘述)。
3.铅防护门合页的调整
目前铅门合页都是可以进行三维调节的。但调节毕竟是微量部分调节,前提必须是门扇框之问的问隙要留对。如果一味迷信调节,不注重门窗加工质量,再好的调节手段也是没有用的。